加入購物車成功!
介紹:
一、 浮筒液位計產品概述
智能浮筒液位計依據力平衡原理,在早期浮筒液位計的基礎上采用***新的傳感結構,使傳感器與杠桿機構合二為一,可直接測量浮筒在液體中所受的浮力,很好地解決了靜壓的影響。本儀表具有耐高溫、耐高壓的突出特點,為解決高溫高壓容器內的液位測量提供了******的方法,并且該儀表具有精度高、可靠性好、調整方便、測量范圍廣、經久耐用、性能價格比高等優點。適合工藝流程中敞口或帶壓容器內的液位、界位、密度的連續測量,廣泛應用于石油、化工、電力、食品、水利、冶金、熱力、水泥和污水處理等行業。該儀表符合二線制4~20mA傳輸協議,并有本安型、隔爆型、液晶指示型、電池型、Hart型以及多種安裝形式,為用戶提供了非常廣闊的選擇空間。另外高質量的電路及傳感系統,保證了在各種應用場所的優良性能。
二、 浮筒液位計主要特點
1,三行液晶數字顯示
2,耐高溫高壓、抗振性能好、質量穩定、性能可靠。
3,采用系列化設計,多種安裝方式,實用面廣,可裝于各種儲灌和過程罐,各種常壓罐和壓力容器。
4,智能化結構設計,具有參數設定、標校及故障提示功能。
5,標準的二線制4~20mA輸出,無需專用二次儀表,并可與計算機連接。
6,具有溫度補償和軟件修正功能。
7,具有去零功能及中間點標校功能。
三、 浮筒液位計 結構原理
1、 結構
智能浮筒液位計由浮筒、扭力管、傳感器、杠桿四部分組成,如圖一所示:


2、 工作原理當浮筒受到液體向上浮力F后通過浮力桿將浮力F作用到傳感器上,傳感器電壓輸出:
即:V ∝ F
因為浮筒浸沒液體的高度與所受到的浮力成正比,因此,浮力的變化通過傳感器電壓輸出就變換成對應的液體高度,并通過A/D→CPU→D/A轉換成標準的4~20mA電流輸出,如下圖所示:
A/D模數轉換 微處理器CPU |
| 按鍵 |
| LCD液晶顯示 |
| D/A數模轉換4~20mA電流輸出 |
HART協議 MODBUS協議 |
| 支點 |
| 浮力杠桿 |
| 浮筒吊桿 |
| 浮筒 |
四、 HQFT-D 浮筒液位計 技術參數
測量范圍:0.3~6m(特殊尺寸可訂購)
精度等級:1.0 、 0.5(特殊型)
輸出信號:4~20mA DC二線制,可帶HART協議
供電電源:標準型:24VDC二線制4~20mA(12VDC-32VDC)
電池型:3.6V@19AH鋰電池,可連續使用壹年
公稱壓力:***大16MPa(特殊規格可訂購)
環境溫度:—40℃~+85℃(液晶不會損壞)液晶正常工作—30℃~+80℃
介質溫度:常溫—40℃ ~100 ℃(無散熱片)
高溫100℃ ~200 ℃(帶散熱片)
超高溫200 ~450 (帶散熱片及夾套裝置)
介質密度:液位p≥0.4g/cm3
界位p1-p2≥0.1g/cm3
接液材質:測量室為碳鋼或1Cr18Ni9Ti其余為1Cr18Ni9Ti
外客材質:鑄鋁
連接法蘭:內浮筒DN30 PN4.0法蘭標準DIN2501
外浮筒側法蘭DN50 PN4.0主體法蘭DN50 PN4.0 法蘭標準DIN2501
特殊型: 由用戶選擇
電纜接口:隔爆型為1/2NPT內螺紋,其它M20*1.5內螺紋
液晶顯示:主屏液位顯示數值范圍:0-50000(可帶小數點)付屏百分比顯示保留一位小數
防爆標志:本安型ia‖CT5 隔爆型 d‖BT6
防護等級:IP65
負載特性:Rlmax=50*(電源電壓-12) ? =600? @24V
產品選型表:
產品選型表:
型號 | 規 格 編 碼 | 內 容 | ||||||||||
HQFT-D | 智能浮筒液(界)位變送器 | |||||||||||
1 | 測量液位 | |||||||||||
2 | 測量界位 | |||||||||||
3 | 測量密度 | |||||||||||
A | 頂側式安裝形式 | |||||||||||
B | 頂底式安裝形式 | |||||||||||
C | 側側式安裝形式 | |||||||||||
D | 底側式安裝形式 | |||||||||||
E | 頂置式安裝形式 | |||||||||||
F | 側置式安裝形式 | |||||||||||
S | 頂底S式安裝形式 | |||||||||||
1 | 公稱壓力≤PN2.5MPa、2.0Mpa(class150) | |||||||||||
2 | 公稱壓力:PN4.0MPa | |||||||||||
3 | 公稱壓力:PN6.3MPa、5.0MPa(class 300) | |||||||||||
4 | 公稱壓力:PN10.0MPa、11.0MPa(class600) | |||||||||||
5 | 公稱壓力:PN16.0MPa、15.0MPa(class900) | |||||||||||
6 | 公稱壓力≤PN26.0MPa(class1500) | |||||||||||
7 | 公稱壓力≤PN42.0MPa(class2500)需要評審 | |||||||||||
/ | ||||||||||||
i | 本質安全型 | |||||||||||
T | 測量室材質:碳鋼 | |||||||||||
H | 測量室材質:304(其它材質牌號按實際填寫) | |||||||||||
L | 介質溫度:-196℃≤T<-30℃ | |||||||||||
D | 介質溫度:-30℃≤T<+100℃ | |||||||||||
G | 介質溫度:100℃≤T≤500℃ | |||||||||||
/ | ||||||||||||
量程 | 按實際填寫,默認單位mm | |||||||||||
附 加 編 碼 | F | 測量室伴熱,接口法蘭:DN15、PN2.5RF(標配) | ||||||||||
Z | 測量室伴熱,螺紋接口:R1/2(標配) | |||||||||||
W | 左式安裝表頭(未注W為右式安裝表頭) | |||||||||||
-D -□□□/□□□/量程□□ | ||||||||||||
選型舉例
D -2C2/iTD/800F:為測量界位,側側式安裝形式,公稱壓力4.0MPa,本質安全型智能變送器,測量室材質為碳鋼,測量介質溫度-30℃≤T<+100℃,量程800mm,測量室伴熱為法蘭接口式。
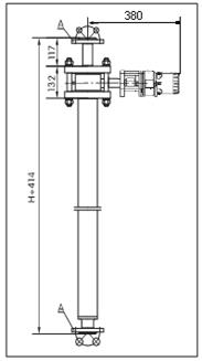
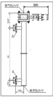
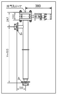
1. 結構形式及安裝圖
下圖中的H為量程,公稱壓力≤PN6.3MPa 。
D -2C2/iTD/800F:為測量界位,側側式安裝形式,公稱壓力4.0MPa,本質安全型智能變送器,測量室材質為碳鋼,測量介質溫度-30℃≤T<+100℃,量程800mm,測量室伴熱為法蘭接口式。
1. 結構形式及安裝圖
下圖中的H為量程,公稱壓力≤PN6.3MPa 。



A 頂側式 B 頂底式 C 側側式


D 底測式 E 頂置式
上一篇:無
下一篇:D型浮標液位計




